7. TIME_WAIT StateTCP 프로그래밍에서 가장 많이 혼동하는 것 중 하나가 TIME_WAIT state이다. 그림 1을 보면 ESTABLISHED state에서 active close가 TIME_WAIT state를 거쳐가는 것을 볼 수 있다. endpoint가 이 state에 머물러 있는 시간은 maximum segment lifetime(MSL)의 2배인데 이를 줄여서 2MSL이라고 부르기도 한다.TCP를 구현할 때 반드시 MSL값을 정해줘야하는데 RFC1122에 나온 추천은 2분이다. 그렇지만 Berkeley-derived implementation에서는 30초라서 보통 이 2MSL은 1분에서 4분정도 된다.MSL은 IP datagram이 네트워크에서 존재할 수 있는 시간이다.모든 da..
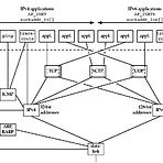
Unix Network Programming의 챕터2 The Transport Layer: TCP, UDP, and SCTP 1. IntroductionTCP, UDP, SCTP는 Transport Layer에 속하며 Nework Layer의 IPv4또는 IPv6를 사용한다.UDP는 신뢰할 수 없는 데이터그램 프로토콜이지만, TCP는 신뢰할 수 있는 byte-stream 프로토콜이다.SCTP는 TCP와 유사하게 신뢰할 수 있는 프로토콜이지만 데이터 경계를 가지고 있고 transport layer에서 제공해주는 multihoming과 head-of-line blocking을 제공해준다. 2. The Big Picture 그림 1은 프로토콜의 도식화를 나타낸 것이다.Transport Layer를 거치지 않고..
오큘러스에서 회전값을 받아와 UDP로 뿌려주면 로봇에 달려있는 PC가 시리얼포트로 로봇 목을 제어하는 모듈을 개발중이다. UDP는 이번에 처음 사용해보는데 TCP에 비해 프로토콜이 굉장히 간단한 느낌이다. UDP가 TCP에 비해 빠르다고 하는데 내가 만든 것은 가벼운 프로그램이라 체감은 못하겠고 TCP와 다른점은 다음과 같다. 1. UDP는 클라이언트 접속 개념이 없고 데이터 검증이 없다. TCP는 서버가 클라이언트를 listen하면 클라이언트가 접속을 시도하고 접속이 됐다는 결과를 알려준다. 접속 종료시에도 마찬가지이다. 하지만 UDP는 특정 port로 열어둘테니 데이터를 던져봐라라는 느낌이다. 데이터가 어느 클라이언트에서 왔는지는 알아서 판단해야한다. TCP 데이터 송수신은 데이터를 보내면 받았다는 ..
아쉽게도 내가 다니는 과에는 컴퓨터공학과에 다르게 컴퓨터구조에 대해 깊게 배우지 않는다. 이렇게 이론적인 내용이 부족할때마다 부럽다는 생각이 든다. *OS가 하는일 OS는 응용프로그램간 하드웨어 사용을 조정하고 데이터를 관리한다. OS가 하는 역할은 사용자 관점에서 보면 사용자가 어떻게 사용하느냐에 따라 달라진다. 예를 들어 데스크탑 같은 범용 컴퓨터는 주로 사용의 용이성에 집중하고, 스마트폰 같은 경우는 배터리와 낮은 퍼포먼스 때문에 연산을 적게하고 들고다니며 사용하기 쉽게하기 위해 인터페이스를 간소화한다. 시스템 관점에서 보면 자원을 어떻게 해야 효율적으로 관리할 지를 결정하는 역할을 한다. *Computer System Operation 현대의 컴퓨터 구조는 CPU, 메모리, 디스크, USB, 그래..
- Total
- Today
- Yesterday
- spring
- thymeleaf 변수 인식
- unity
- Closure
- chunk
- spring batch
- Bean
- Check point within polygon
- npm
- 클로저
- thymeleaf cannot resolve
- @Autowired
- Tasklet
- mybatis
- @Component
- nodejs
- @Bean
- Linux
- JavaScript
- @Qualifier
- MySQL
- Barycentric coordinates
- Express
- Bin
| 일 | 월 | 화 | 수 | 목 | 금 | 토 |
|---|---|---|---|---|---|---|
| 1 | ||||||
| 2 | 3 | 4 | 5 | 6 | 7 | 8 |
| 9 | 10 | 11 | 12 | 13 | 14 | 15 |
| 16 | 17 | 18 | 19 | 20 | 21 | 22 |
| 23 | 24 | 25 | 26 | 27 | 28 | 29 |
| 30 |
